Реле РПС34 |
Реле РПС34 - герметичное, поляризованное, двустабильное, двухпозиционное, с четырьмя элементами на переключение, предназначено для коммутации цепей постоянного и переменного тока частотой до 10 кГц.
Реле РПС34 соответствует требованиям ГОСТ 16121-86 и техническим условиям ЯЛ0.452.079ТУ. Условия эксплуатации.
Температура окружающей среды от -60 до +100°С.
Циклическое воздействие температур -60 и +100°С.
Повышенная относительная влажность до 98% при температуре не более 35 °С.
Атмосферное давление от 133,3•10-8 до 306,6•103 Па.
Синусоидальная вибрация: вибропрочность в диапазоне частот: от 5 до 50 Гц - с амплитудой не более 1,5 мм; от 50 до 1000 Гц - с ускорением не более 200 м/с2; от 1000 до 3000 Гц - не более 150 м/с2; виброустойчивость в диапазоне частот: от 5 до 50 Гц - с амплитудой не более 1,5 мм; от 50 до 1000 Гц - с ускорением не более 200 м/с2; от 1000 до 3000 Гц - не более 100 м/с2. Ударная прочность. При одиночных ударах с ускорением не более 1500 м/с2 - 30 ударов. При этом переключение подвижной системы не допускается. Возможны произвольные размыкания и замыкания контактов. При многократных ударах с ускорением не более 1000 м/с2 - 4000 ударов, с ускорением не более 350 м/с2 - 10000 ударов.
Ударная устойчивость - с ускорением не более 750 м/с2.
Постоянно действующие линейные ускорения не более 1000 м/с2.
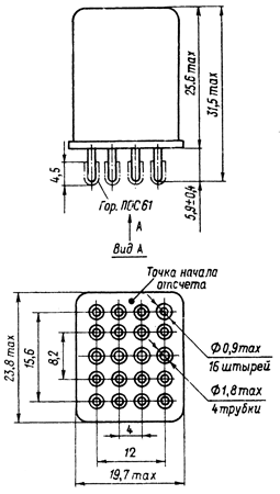
Воздействие акустических шумов - при уровне звукового давления не более 196 Па в диапазоне частот от 100 до 10000 Гц. Требования к надежности. Минимальный срок службы и срок сохраняемости реле при хранении в условиях отапливаемого хранилища, а также вмонтированных в защищенную аппаратуру или находящихся в комплекте ЗИП - 12 лет; или при хранении в неотапливаемых хранилищах, в упаковке изготовителя или вмонтированных в аппаратуру в незащищенном объекте - 6 лет; или при хранении под навесом, в упаковке изготовителя или вмонтированных в аппаратуру в незащищенном объекте - 3 года; при хранении на открытой площадке, вмонтированных в аппаратуру в незащищенном объекте - 3 года. Конструктивные данные. Конструктивные данные реле РПС34А приведены на рис. 2-151. Маркировка выводов - на рис. 2-152. Конструктивные данные реле РПС34Б - на рис. 2-153. Разметка для крепления - на рис. 2-154. Принципиальная электрическая схема реле РПС34 - на рис. 2-155.
При подключении положительного полюса источника питания к началам обмоток, обозначенным 1 и 3, а отрицательного - к концам этих же обмоток, обозначенным 5 и 7, должно происходить замыкание контактов 21 и 22 с контактами 11 и 12, контактов 51 и 52 с контактами 41 и 42, и соответственно при подключении положительного полюса источника питания к началам обмоток 2 и 4, а отрицательного - к концам этих же обмоток, обозначенным 6 и 8, должно происходить замыкание контактов 21 и 22 с контактами 31 и 32 и контактов 51 и 52 с контактами 61 и 62.
Подключение напряжения другой полярности и одновременное подключение напряжения на обмотки I, II и III, IV не допускаются.
Пример записи реле исполнений РС4.520.235 и РС4.520.235-01 в конструкторской документации дан в табл. 2-291.
Режимы работы реле приведены в табл. 2-292. Частные характеристики - в табл. 2-293. Износостойкость - в табл. 2-294. Масса реле РПС34А не более 43 г, реле РПС34Б - не более 45 г. |
Рис. 2-151. Конструктивные данные реле РПС34А
 |
Рис. 2-153. Конструктивные данные реле РПС34Б
 |
|
Рис. 2-152. Маркировка выводов
 |
Рис. 2-154. Разметка для крепления
 |
Рис. 2-155. Принципиальная электрическая схема реле РПС34
 |
| Технические характеристики |
Ток питания обмотки |
постоянный |
Сопротивление изоляции между токоведущими элементами, между токоведущими элементами и корпусом, МОм, не менее: |
в нормальных климатических условиях (обмотки обесточены) |
200 |
при максимальной температуре (после выдержки обмотки под рабочим напряжением) |
20 |
в условиях повышенной влажности |
10 |
Испытательное переменное напряжение между токоведущими элементами, между токоведущими элементами и корпусом, В: |
при нормальных климатических условиях |
500 |
в условиях повышенной влажности |
300 |
при пониженном атмосферном давлении |
18 |
|
| Таблица 2-291 |
Обозначение |
Наименование |
РС4.520.235
РС4.520.235-01 |
Реле РПС34А ЯЛ0.452.079ТУ
Реле РПС34Б ЯЛ0.452.079ТУ |
|
| Режимы работы реле. Таблица 2-292 |
Исполнение |
Рабочее напряжение, В |
Температура окружающей среды, °С |
Атмосферное давление, Па |
Время нахождения обмотки под напряжением, не более |
Скважность |
непрерывное, с |
суммарное при макс. температуре, ч |
РС4.520.231
РС4.520.231-01 |
6 +1,2/-0,6 |
-60...+60 |
133,3•10-8 - 306,6•103 |
60* |
100 |
5** |
-60...+85 |
95,9•103 - 306,6•103 |
6 +0,6/-0,3 |
-60...+100 |
0,1 |
10 |
РС4.520.232 РС4.520.232-01 |
12 +2,0/-1,2 |
-60...+60 |
133,3•10-8 - 306,6•103 |
60* |
5** |
-60...+85 |
95,9•103 - 306,6•103 |
12 +1,2/-0,5 |
-60...+100 |
0,1 |
10 |
РС4.520.233 РС4.520.233-01 |
27 +5/-3 |
-60...+60 -60...+85 |
133,3•10-8 - 306,6•103 95,9•103 - 306,6•103 |
60* |
5** |
27+7/-5 27 +9 /-7 |
-60...+70 -60...+50 |
133,3•10-8 - 306,6•103 |
0,025-8 |
10 |
27 +2,7/-1,35 |
-60...+100 |
95,9•103 - 306,6•103 |
0,1 |
РС4.520.234 РС4.520.234-01 |
6 +1,2/-0,6 |
-60...+60 |
133,3•10-8 - 306,6•103 |
60* |
5** |
-60...+85 |
95,9•103 - 306,6•103 |
6 +0,6/-0,3 |
-60...+100 |
0,1 |
10 |
РС4.520.235 РС4.520.235-01 |
12 +2,0/-1,2 |
-60...+60 |
133,3•10-8 - 306,6•103 |
60* |
5** |
-60...+85 |
95,9•103 - 306,6•103 |
12 +1,2/-0,6 |
-60...+100 |
0,1 |
10 |
РС4.520.236 РС4.520.236-01 |
27 +5/-3 |
-60...+60 -60...+85 |
133,3•10-8 - 306,6•103 95,9•103 - 306,6•103 |
60* |
5** |
27+7/-5 27 +9 /-7 |
-60...+70 -60...+50 |
133,3•10-8 - 306,6•103 |
0,025-8 |
10 |
27 +2,7/-1,35 |
-60...+100 |
95,9•103 - 306,6•103 |
0,1 |
РС4.520.237 РС4.520.237-01 |
6 +1,2/-0,6 |
-60...+60 |
133,3•10-8 - 306,6•103 |
60* |
5** |
-60...+85 |
95,9•103 - 306,6•103 |
6 +0,6/-0,3 |
-60...+100 |
0,1 |
10 |
РС4.520.238 РС4.520.238-01 |
12 +2,0/-1,2 |
-60...+60 |
133,3•10-8 - 306,6•103 |
60* |
5** |
-60...+85 |
95,9•103 - 306,6•103 |
12 +1,2/-0,6 |
-60...+100 |
0,1 |
10 |
РС4.520.239 РС4.520.239-01 |
27 +5/-3 |
-60...+60 -60...+85 |
133,3•10-8 - 306,6•103 95,9•103 - 306,6•103 |
60* |
100 |
5** |
27+7/-5 27 +9 /-7 |
-60...+70 -60...+50 |
133,3•10-8 - 306,6•103 |
0,025-8 |
10 |
27 +2,7/-1,35 |
-60...+100 |
95,9•103 - 306,6•103 |
0,1 |
РС4.520.240 РС4.520.240-01 |
12 +2,0/-1,2 |
-60...+60 |
133,3•10-8 - 306,6•103 |
60* |
5** |
-60...+85 |
95,9•103 - 306,6•103 |
12 +1,2/-0,6 |
-60...+100 |
0,1 |
10 |
РС4.520.241 РС4.520.241-01 |
12 +2,0/-1,2 |
-60...+60 |
133,3•10-8 - 306,6•103 |
60 |
5** |
-60...+85 |
95,9•103 - 306,6•103 |
12 +1,2/-0,6 |
-60...+100 |
0,1 |
10 |
РС4.520.242 РС4.520.242-01 |
12 +2,0/-1,2 |
-60...+60 |
133,3•10-8 - 306,6•103 |
60 |
5** |
-60...+85 |
95,9•103 - 306,6•103 |
12 +1,2/-0,6 |
-60...+100 |
0,1 |
10 |
РС4.520.243 РС4.520.243-01 |
27 +5/-3 |
-60...+60 -60...+85 |
133,3•10-8 - 306,6•103 95,9•103 - 306,6•103 |
60 |
5** |
27+7/-5 27 +9 /-7 |
-60...+70 -60...+50 |
133,3•10-8 - 306,6•103 |
0,025-1 |
10 |
27 +2,7/-1,35 |
-60...+100 |
95,9•103 - 306,6•103 |
0,1 |
РС4.520.244 РС4.520.244-01 |
27 +5/-3 |
-60...+60 -60...+85 |
133,3•10-8 - 306,6•103 95,9•103 - 306,6•103 |
60* |
5** |
27+7/-5 27 +9 /-7 |
-60...+70 -60...+50 |
133,3•10-8 - 306,6•103 |
0,025-1 |
10 |
27 +2,7/-1,35 |
-60...+100 |
95,9•103 - 306,6•103 |
0,1 |
РС4.520.245 РС4.520.245-01 |
27 +5/-3 |
-60...+60 -60...+85 |
133,3•10-8 - 306,6•103 95,9•103 - 306,6•103 |
60* |
5** |
27+7/-5 27 +9 /-7 |
-60...+70 -60...+50 |
133,3•10-8 - 306,6•103 |
0,025-8 |
10 |
27 +2,7/-1,35 |
-60...+100 |
95,9•103 - 306,6•103 |
0,1 |
РС4.520.246 РС4.520.246-01 |
6 +1,2/-0,6 |
-60...+60 |
133,3•10-8 - 306,6•103 |
60* |
5** |
-60...+85 |
95,9•103 - 306,6•103 |
6 +0,6/-0,3 |
-60...+100 |
0,1 |
10 |
РС4.520.247 РС4.520.247-01 |
12 +2,0/-1,2 |
-60...+60 |
133,3•10-8 - 306,6•103 |
60* |
5** |
-60...+85 |
95,9•103 - 306,6•103 |
12 +1,2/-0,6 |
-60...+100 |
0,1 |
10 |
РС4.520.248 РС4.520.248-01 |
27 +5/-3 |
-60...+60 -60...+85 |
133,3•10-8 - 306,6•103 95,9•103 - 306,6•103 |
60* |
5** |
27+7/-5 27 +9 /-7 |
-60...+70 -60...+50 |
133,3•10-8 - 306,6•103 |
0,025-8 |
10 |
27 +2,7/-1,35 |
-60...+100 |
95,9•103 - 306,6•103 |
0,1 |
РС4.520.281 РС4.520.281-01 |
6 +1,2/-0,6 |
-60...+60 |
133,3•10-8 - 306,6•103 |
60* |
5** |
-60...+85 |
95,9•103 - 306,6•103 |
6 +0,6/-0,3 |
-60...+100 |
0,1 |
10 |
РС4.520.282 РС4.520.282-01 |
12 +2,0/-1,2 |
-60...+60 |
133,3•10-8 - 306,6•103 |
60* |
5** |
-60...+85 |
95,9•103 - 306,6•103 |
12 +1,2/-0,6 |
-60...+100 |
0,1 |
10 |
РС4.520.283 РС4.520.283-01 |
27 +5/-3 |
-60...+60 -60...+85 |
133,3•10-8 - 306,6•103 95,9•103 - 306,6•103 |
60* |
5** |
27+7/-5 27 +9 /-7 |
-60...+70 -60...+50 |
133,3•10-8 - 306,6•103 |
0,025-8 |
10 |
27 +2,7/-1,35 |
-60...+100 |
95,9•103 - 306,6•103 |
0,1 |
РС4.520.284 РС4.520.284-01 |
12 +2,0/-1,2 |
-60...+60 |
133,3•10-8 - 306,6•103 |
60* |
5** |
-60...+85 |
95,9•103 - 306,6•103 |
12 +1,2/-0,6 |
-60...+100 |
0,1 |
10 |
РС4.520.285 РС4.520.285-01 |
27 +5/-3 |
-60...+60 -60...+85 |
133,3•10-8 - 306,6•103 95,9•103 - 306,6•103 |
60* |
5** |
27+7/-5 27 +9 /-7 |
-60...+70 -60...+50 |
133,3•10-8 - 306,6•103 |
0,025-1 |
10 |
27 +2,7/-1,35 |
-60...+100 |
95,9•103 - 306,6•103 |
0,1 |
* Допускается работа реле при любой длительности импульса, подаваемого на обмотки с частотой срабатывания, не более указанной в табл. 2-294. ** В течение 1 мин допускается работа с любой скважностью включения обмоток. |
|
| Частные характеристики.Таблица 2-293 |
Исполнение |
Обмотка |
Напряжение срабатывания, В |
Сопротивление электрического
контакта, Ом, не более |
Время срабатывания, мс, не более |
Материал контактов |
Номер |
Сопротивление, Ом |
РС4.520.231 РС4.520.231-01 |
I II III IV |
26±2,6 |
1,8-3,6 |
1,5 |
5 при Uраб = 5,4 В |
ПлИ-10 |
РС4.520.232 РС4.520.232-01 |
I II III IV |
100+15 |
4-8 |
5 при Uраб = 10,8 В |
РС4.520.233 РС4.520.233-01 |
I II III IV |
370±55,5 |
8-16 |
5 при Uраб = 24 В |
РС4.520.234 РС4.520.234-01 |
I II III IV |
26±2,6 |
1,8-3,6 |
0,25 |
5 при Uраб = 5,4 В |
СрПдМг20-0,3 Зл999,9 |
РС4.520.235 РС4.520.235-01 |
I II III IV |
100±15 |
4-8 |
5 при Uраб = 10,8 В |
РС4.520.236 РС4.520.236-01 |
I II III IV |
370±55,5 |
8-16 |
5 при Uраб = 24 В |
РС4.520.237 РС4.520.237-01 |
I II III IV |
26±2,6 |
1,8-3,6 |
1 |
5 при Uраб = 5,4 В |
РС4.520.238 РС4.520.238-01 |
I II III IV |
100±15 |
4-8 |
5 при Uраб = 10,8 В |
РС4.520.239 РС4.520.239-01 |
I II III IV |
370±55,5 |
8-16 |
5 при Uраб = 24 В |
РС4.520.240 РС4.520.240-01 |
I II |
200±3 |
3,4-6,8 |
1 |
5 при Uраб = 10,8 В |
СрПдМг20-0,3 |
РС4.520.241 РС4.520.241-01 |
I II |
0,25 |
СрПдМг20-0,3 Зл999,9 |
РС4.520.242 РС4.520.242-01 |
I II |
1 |
СрПдМг20-0,3 Зл999,9 |
РС4.520.243 РС4.520.243-01 |
I II |
1000±150 |
8-16 |
1 |
5 при Uраб = 24 В |
СрПдМг20-0,3 |
РС4.520.244 РС4.520.244-01 |
I II |
0,25 |
СрПдМг20-0,3 Зл999,9 |
РС4.520.245 РС4.520.245-01 |
I II |
1 |
РС4.520.246 РС4.520.246-01 |
I II III IV |
26±2,6 |
1,8-3,6 |
1 |
5 при Uраб = 5,4 В |
СрПдМг20-0,3 |
РС4.520.247 РС4.520.247-01 |
I II III IV |
100±15 |
4-8 |
5 при Uраб = 10,8 В |
РС4.520.248 РС4.520.248-01 |
I II III IV |
370±55,5 |
8-16 |
5 при Uраб = 24 В |
РС4.520.281 РС4.520.281-01 |
I II III IV |
26±2,6 |
1,8-3,6 |
0,25 |
5 при Uраб = 5,4 В |
СрПдМг 20-0,3 Зл999,9 |
РС4.520.282 РС4.520.282-01 |
I II III IV |
100±15 |
4-8 |
5 при Uраб = 10,8 В |
РС4.520.283 РС4.520.283-01 |
I II III IV |
370±55,5 |
8-16 |
5 при Uраб = 24 В |
РС4.520.284 РС4.520.284-01 |
I II |
200±30 |
3,4-6,8 |
5 при Uраб = 5,4 В |
РС4.520.285 РС4.520.285-01 |
I II |
1000±150 |
8-16 |
5 при Uраб = 10,8 В |
Примечание. Подключение реле: для двухобмоточных - начало 1, 2, конец 5, 6; для четырехобмоточных - начало 1, 3, 4, 2, конец 5, 7, 8, 6. |
|
| Износостойкость. Таблица 2-294 |
Исполнение |
Режим коммутации |
Вид нагрузки |
Род тока |
Частота срабатывания, Гц, не более* |
Число коммутационных циклов |
Допустимый ток, А |
Напряжение на разомкнутых контактах, В |
суммарное |
в том числе при макс. температуре |
РС4.520.231 РС4.520.232 РС4.520.233 РС4.520.231-01 РС4.520.232-01 РС4.520.233-01 |
0,2-0,5 0,5-2 2-3 |
6-34 |
Активная |
Постоянный |
5 |
106 105 104 |
0,5•106 0,5•105 0,5•104 |
0,005-0,01 |
100-220** |
106 |
0,5•106 |
0,1-1 0,1-0,5 |
12-127* 12-220** |
Переменный 50-1100 Гц |
104 |
0,5•104 |
0,04-0,15 |
6-34 |
Индуктивная, t<=15 мс |
Постоянный |
2,5•105 |
1,25•105 |
0,15-1,0 |
1 |
2,5•104 |
1,25•104 |
0,1-0,25 |
12-220** |
cos ф=>0,3 |
Переменный 50-1100 Гц |
0,5•104 |
0,25•104 |
РС4.520.237 РС4.520.238 РС4.520.239 РС4.520.242 РС4.520.245 РС4.520.237-01 РС4.520.238-01 РС4.520.239-01 РС4.520.242-01 РС4.520.245-01 |
0,08-0,25 0,25-2 2-3 |
6-34 |
Активная |
Постоянный |
5 |
106 105 104 |
0,5•106 0,5•105 0,5•104 |
0,005-0,01 |
100-220** |
106 |
0,5•106 |
0,1-1 0,1-0,5 |
12-127 12-220** |
Переменный 50-1100 Гц |
104 |
0,5•104 |
0,04-0,15 |
6-34 |
Индуктивная, t<=15 мс |
Постоянный |
2,5•105 |
1,25•105 |
0,15-1 |
1 |
2,5•104 |
1,25•104 |
01-0,25 |
12-220** |
cos ф=>0,3 |
Переменный 50-1100 Гц |
0,5•104 |
0,25•104 |
РС4.520.234 РС4.520.235 РС4.520.236 РС4.520.241 РС4.520.244 РС4.520.282 РС4.520.285 РС4.520.234-01 РС4.520.235-01 РС4.520.236-01 РС4.520.741-01 РС4.520.244-01 РС4.520.282-01 РС4.520.285-01 |
5•10-6 - 10-3 |
0,05-10 |
Активная |
Постоянный Переменный 50-1100 Гц |
5 |
106 |
0,5•106 |
0,001-0,01 |
3-34 |
Постоянный |
0,01-0,1 |
5-115 |
Переменный 50-1100 Гц |
105 |
0,5•105 |
10-34 |
Постоянный |
0,005-0,06 |
3-34 |
Индуктивная, t<=50 мс |
3 |
0,5•105 |
0,25•105 |
0,06-0,15 |
10-34 |
Индуктивная, t<=15 мс |
1 |
0,6•104 |
0,3•104 |
0,01-0,05 |
5-115 |
cos ф=>0,3 |
Переменный 50-1100 Гц |
0,4•104 |
0,2•104 |
0,005-0,06 |
3-34 |
Индуктивная, t<=15 мс |
Постоянный |
5 |
0,5•105 |
0,25•105 |
РС4.520.240 РС4.520.243 РС4.520.246 РС4.520.247 РС4.520.248 РС4.520.240-01 РС4.520.243-01 РС4.520.246-01 РС4.520.247-01 РС4.520.248-01 |
0,08-1 1-2 2-3 |
6-34 |
Активная |
Постоянный |
5 |
106 105 104 |
0,5•106 0,5•105 0,5•104 |
0,005-0,01 |
100-220** |
106 |
0,5•106 |
0,1-1 0,1-0,5 |
12-127 12-220** |
Переменный 50-1100 Гц |
104 |
0,5•104 |
0,04-0,15 |
6-34 |
Индуктивная, t<=15 мс |
Постоянный |
2,5•105 |
1,25•105 |
0,15-1 |
2,5•104 |
1,25•104 |
0,1-0,25 |
12-220** |
cos ф=>0,3 |
Переменный 50-1100 Гц |
1 |
0,5•104 |
0,25•104 |
РС4.520.281 РС4.520.285 РС4.520.281-01 РС4.520.285-01 |
5•10-6 - 10-3 |
0,05-10 |
Активная |
Переменный 50-10000 Гц |
5 |
106 |
0,5•106 |
10-3 - 2•10-2 |
3-220* |
Постоянный |
10-2 - 8•10-2 |
10-34 |
105 |
0,5•105 |
8•10-2 - 0,25 0,25 - 1 1-2 2-3 |
6-34 |
2•106 106 105 104 |
106 0,5•106 0,5•105 0,5•104 |
10-2 - 10-1 10-1 - 1,0 10-1 - 0,5 |
5-115 12-127 12-220** |
Переменный 50-10000 Гц |
105 104 104 |
0,5•105 0,5•104 0,5•104 |
5•10-3 - 6•10-2 |
3-34 |
Индуктивная, t<=15 мс |
Постоянный |
3 |
0,5•105 |
0,25•105 |
4•10-2 - 0,15 |
6-34 |
5 |
2,5•105 |
1,25•105 |
0,15 - 1,0 |
1 |
2,5•104 |
1,25•104 |
10-2 - 0,25 |
5-220** |
cos ф=>0,3 |
Переменный 50-10000 Гц |
5•103 |
2,5•103 |
* При температуре выше +85°С частота срабатывания не более 0,3 Гц. ** При атмосферном давлении 133,3•10-8 - 53300 Па напряжение на разомкнутых контактах не более 127 В переменного тока или не более 180 В постоянного тока. |
|